TOP

SN32F7741

產品描述

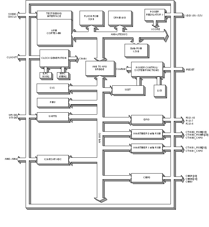
SN32F770 系列单片机是一款全新以先进Flash ROM制程设计的低功耗、高效能产品,以ARM Cortex ™-M0 为核心,工作电压介于1.8V~5.5V,主频高达48MHz (43DMIPS)。SN32F770系列单片机IC结构一流,包括32KB Flash ROM程式记忆体、4KB RAM程式记忆体、巢状向量中断控制单元(NVIC)、两组16位元计时器、通讯介面包括一组UART、一组比较器以及5+1通道12位元SAR ADC。 SN32F770系列单片机拥有许多系统时钟来源,包括内部48 MHz RC震荡器和内部16 KHz RC 震荡器。 在此Flash ROM 平台下, SN32F770 系列单片机内置线上编程功能(ISP),可扩展为EEPROM应用。强大的功能、高可靠性和低功耗可以在电池场合轻松应用。