TOP

SNAUD02

產品描述

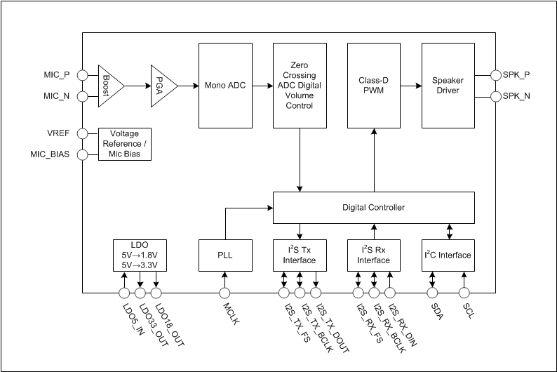
The SNAUD02 is a mono class-D audio codec, ideal for applications with microphone recording and audio playback features such as voice telephony, protable personal audio devices, and digital video camcorders. The device consists of a 24-bit mono ADC, a mono Class-D amplifier with speaker driver, fractional PLL and LDOs. In microphone related application, the SNAUD02 integrates preamps for mono differential microphones to minimize the need for external components. With a larger boost gain and a 24-bit precision ADC, the SNAUD02 is suitable for long distance audio recording. The speak amplifier provides flexibility for designs by driving 8Ω speakers with single 5V supply and the two LDOs supply 3.3V and 1.85V power to provide continuous current for backend main chip.