TOP

SN11220APF

產品描述

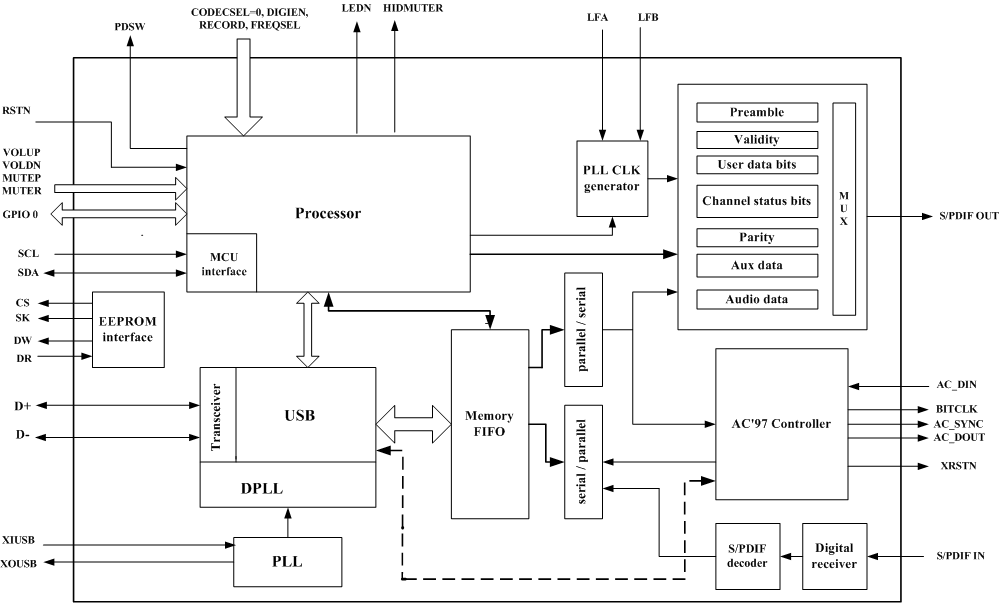
松翰高效率的音效控制晶片SN11220APF是一個支援8K,11.025KHZ,16KHZ,22.05KHZ,24K,32K,44.1K,48K八種取樣頻率類比撥放/錄音, 可根據PC音源動態調整頻率,適合應用在USB立體聲撥放/錄音,SN11220APF架構上已完整地支援 1個控制PIPE,兩個即時PIPE和1個中斷 PIPE 可說是一個應用相當廣泛的音源控制器

    相关附件