TOP

SNC73313

產品描述

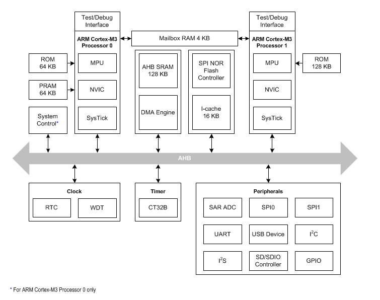
The SNC7330 series has two 32-bit ARM® Cortex®-M3 processors in symmetric dual-core architecture. Each of the two cores controls respective designated peripherals, cooperates with the other, and can be independently programmed. The two processors of the SNC7330 series operate at a frequency of up to 96 MHz individually. Supporting RAM array with data bandwidth of up to 5 GB/sec and deep power-down mode consuming less than 1 μA, the SNC7330 series is designed for high performance and low power consumption embedded applications.
The SNC7330 series offers standard peripherals including SAR ADC, SPI, UART, USB device, I2C, SD/SDIO controller, and up to three I2S controllers. With the software development kit (SDK) that includes various sample codes complying with the Keil® MDK-ARM® compiler, development, programming, and debugging can be implemented efficiently for various consumer electronics applications.